
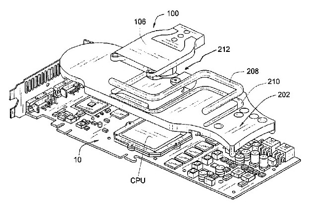
Asetek ha annunciato l’ottenimento da parte del Patent and Trademark Office degli Stati Uniti (USPTO) di un brevetto per un sistema di raffreddamento a liquido di nuova concezione progettato per GPU.
Il nuovo sistema promette di minimizzare il rumore della pompa rotativa e avere temperature più basse rispetto ai raffreddamenti a liquido tradizionali.
Asetek ha sviluppato soluzioni di raffreddamento a liquido per schede grafiche per più di 10 anni, utilizzando il loro all-in-one come tecnologia di raffreddamento.
Poiché si tratta di un sistema appena brevettato, non sappiamo molto sulle reali prestazioni della tecnologia di questo tipo di dissipatori a liquido, ma appena avremo notizie più dettagliate ve le comunicheremo.


Discussione su post